共聚焦显微镜VS超景深显微镜的区别对比
在材料科学、半导体制造及精密工程等领域,对样品表面进行高精度三维形貌测量是质量分析与失效分析的关键环节。共聚焦显微镜与超景深显微镜其中主流的、原理不同的光学检测设备。尽管两者均可输出三维形貌数据,但其技术路径、性能指标及适用场景存在本质差异。下文,光子湾科技基于光学成像原理,从技术、性能及应用领域三个维度,系统阐述两者的区别。
一、技术原理的根本差异
1. 共聚焦显微镜的原理
共聚焦显微镜成像原理图
共聚焦显微镜基于“点扫描+空间滤波”原理,其系统发射一束单色激光,经物镜聚焦为样品表面的一个衍射极限光点。该点反射回的信号光再次通过物镜,并在探测光路中设置一个与照明焦点位置共轭的针孔。针孔的作用是精准过滤掉来自焦平面以外的散射光,仅允许焦平面反射的光线到达探测器。为实现面成像,系统通过振镜控制激光点在XY平面内逐行逐点扫描,并在每个XY位置完成Z轴层切扫描,最终将每个空间点的光强信息重构成具有极高信噪比的三维图像。
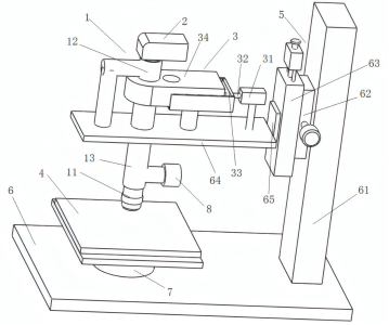
2. 超景深显微镜的原理
超景深显微镜的构造原理示意图
超景深显微镜的原理技术路径是“光学切片+图像融合”,其工作过程为:通过电机驱动物镜或载物台在垂直方向(Z轴)进行快速扫描,逐层采集一系列不同焦平面的二维图像。由于每个焦平面仅部分区域清晰,系统内置算法会对每个像素点进行“清晰度”评估,从所有图像中提取最清晰的像素进行合成,最终生成一张全视野清晰的全聚焦二维图像。与此同时,记录每个清晰像素所对应的Z轴位置信息,通过数据重建形成样品表面的三维形貌。
二、核心性能的对比
从核心性能来看,两者的优劣互补关系主要体现在以下维度:

共聚焦显微镜观测的三维成像
1. 横向分辨率:共聚焦显微镜因采用短波长激光光源、共轭针孔滤波以及高数值孔径物镜,其横向分辨率可突破光学衍射极限,显著优于超景深显微镜,能够分辨更细微的结构特征。
2. 纵向(Z轴)精度:超景深显微镜的Z轴信息来源于电机的步进位置,其精度受机械传动系统限制,通常为亚微米级。而共聚焦显微镜通过精确探测每一层的光强峰值来确定Z值,精度更高,可达纳米级。

超景深显微镜观测的三维成像
3. 成像速度:超景深显微镜通过连续拍摄多张图像并进行融合,过程为面成像,速度较快。共聚焦显微镜由于需要逐点扫描整个视场并叠加Z轴层切,数据采集时间较长,成像速度相对较慢。
4. 图像质量与适用性:超景深显微镜使用白光LED照明,生成的二维图像色彩真实、视觉直观,适合快速观察与文档记录。共聚焦显微镜则提供单色或伪彩色图像,但因有效滤除了杂散光,图像对比度和信噪比极高,尤其适用于高反光、低反射率或表面结构复杂的样品。
三、应用领域的选择依据
1. 共聚焦显微镜的应用
共聚焦显微镜的核心价值在于“高分辨率”与“高精度”。它能够清晰呈现纳米级台阶、精细线条和微小缺陷,尤其擅长测量高反光材料(如抛光金属、晶圆)的表面形貌。其在半导体晶圆缺陷检测、MEMS器件结构分析、高精度表面粗糙度测量等尖端工业与科研领域占据主导地位。
2. 超景深显微镜的应用
超景深显微镜的主要优势在于“大景深”与“高效率”。其单次扫描即可获得从样品顶部到底部均清晰的全聚焦图像,且操作直观简便,因此在PCB电路板检测、机械零部件外观检查、断口形貌分析、矿物观察以及教学演示等对横向分辨率要求不极致、但对成像速度和操作便捷性要求较高的宏观检测领域应用广泛。
综上,共聚焦显微镜与超景深显微镜虽同属光学三维形貌测量设备,但原理迥异,性能互补。共聚焦显微镜则依靠激光点扫描与共轭针孔滤波,追求极致的横向分辨率、信噪比与纳米级Z轴精度,专攻微观精细结构的定量分析;而超景深显微镜以白光光源、图像融合技术为基础,侧重于实现快速、大景深、真实色彩的宏观至介观尺度观察。
光子湾3D共聚焦显微镜
光子湾3D共聚焦显微镜是一款用于对各种精密器件及材料表面,可应对多样化测量场景,能够快速高效完成亚微米级形貌和表面粗糙度的精准测量任务,提供值得信赖的高质量数据。

技术支持:199-6293-0018
超宽视野范围,高精细彩色图像观察
提供粗糙度、几何轮廓、结构、频率、功能等五大分析技术
采用针孔共聚焦光学系统,高稳定性结构设计
提供调整位置、纠正、滤波、提取四大模块的数据处理功能
光子湾共聚焦显微镜以原位观察与三维成像能力,为精密测量提供表征技术支撑,助力从表面粗糙度与性能分析的精准把控,成为推动多领域技术升级的重要光学测量工具。